湖北疾控发布最新提醒!

[复制链接]

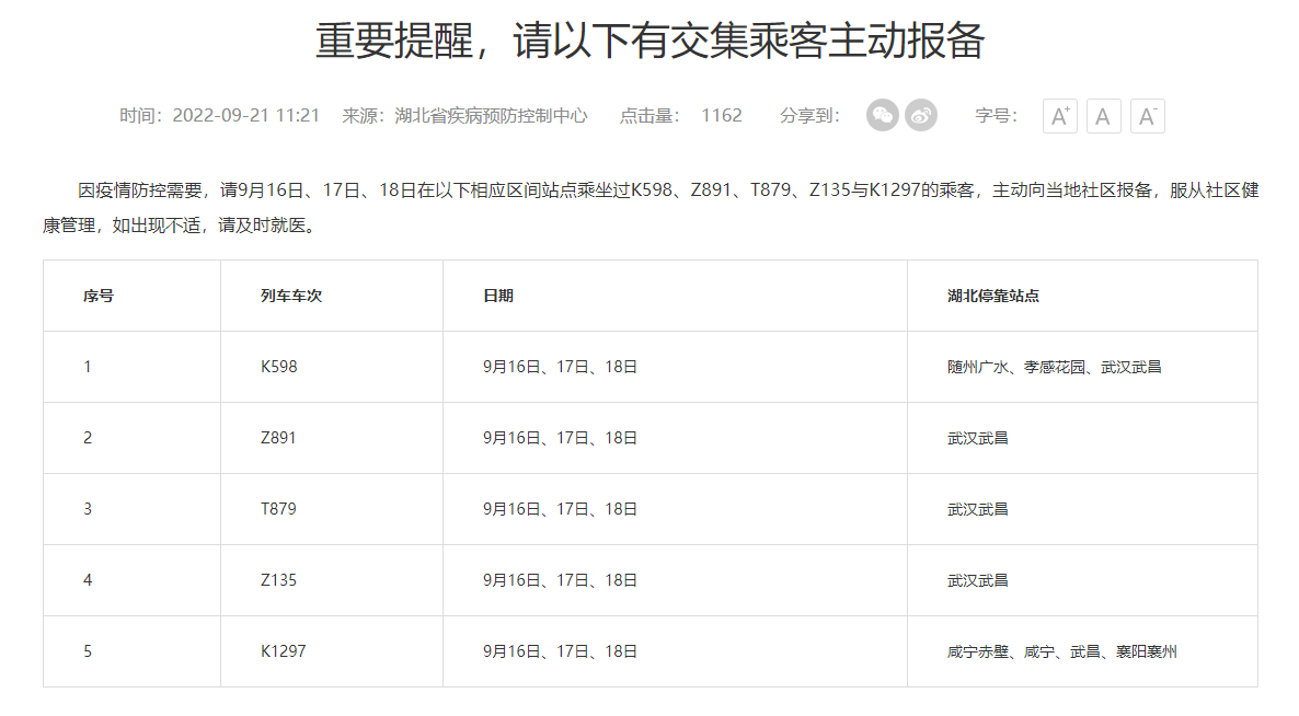
提醒.jpg


084713xzsa05s000uwswnx.png


9月21日,湖北省疾控中心连续发布重要提醒,要求乘坐过多列次列车的乘客或有交集的乘客主动报备。由于火车人流量相对较大,乘车环境相对密闭,极易传染病的传播。湖北疾控专家提醒:乘坐火车不大意,做好个人防护,保护自身健康。

一、乘坐火车时需要注意的四个“风险”环节







01.
上下车时

上下车过程人员密集,火车车厢内环境相对密闭,如果没有做好个人防护,若同车厢人员中存在新冠肺炎无症状感染者,就会存在被感染的风险。



02.
乘车途中

乘车途中,如果摘下口罩喝水或者用餐,不佩戴口罩时间越长,也会增加被感染的风险。



03.
注意手卫生

使用或触碰了使用频率高的设施设备,如:卫生间门把手、饮水机按钮等,又没有及时做好洗手、手消毒等手卫生工作,就会存在被感染的风险



04.
佩戴口罩

长时间的旅行途中,拉下口罩透气或者没有规范佩戴好口罩,也可能存在被感染的风险。


二、乘车时做好这点,能够最大可能避免感染风险







01.

全程规范佩戴医用外科口罩


口罩夹夹紧鼻梁,口罩边沿贴紧脸部,进出站及乘坐火车时全程规范佩戴好医用外科及以上级别的口罩。上车前做好必要的准备,如吃饭、喝水等,上车后尽量减少上述行为;旅途时间长的乘客如确需进餐,建议与他人错开进餐,或选择餐车等人流量少的区域单独用餐。



02.
做好手卫生

乘车途中要勤洗手或者用免洗消毒剂清洁手部,特别是在手触碰了座椅扶手、门把手后,要立即用流动的水按照七步洗手法洗手,或者用免洗消毒剂进行快速手消毒。可以选择佩戴一次性手套或者用纸巾触碰门把手等部位。在旅途中,不要用手触碰口罩外表面或触摸口眼鼻,上下车和他人保持安全距离,不扎堆拥挤。



03.

主动核酸检测


核酸检测能够筛查出风险人员,做到早发现、早治疗、早阻断社会传播。建议出行前提前做好核酸检测,到达目的地后,及时报备行程,并尽快主动就近进行核酸检测。在检测结果出来前,尽量不前往公共场所活动。



04.
配合做好各项防疫措施

遵守各项防控政策,按防疫要求配合完成信息登记、流调、核酸筛查和隔离管控等措施。



源:湖北疾控中心健康教育所

制作:刘毅 | 编辑:方丹 熊霞 | 责编:方军

出品:蔡甸区融媒体中心

您有新闻线索,请联系我们:

新闻热线:027-84942678

投稿邮箱:2187431778@qq.com

回复

使用道具 举报

您需要登录后才可以回帖 登录 | 立即注册

本版积分规则

官方微博
智慧蔡甸
模板大全
智慧蔡甸
意见
反馈